KLAMRA EASY-LOCK
Łatwa regulacja.
Wyjątkowa klamra z ruchomą poprzeczką, spełnia amerykańskie normy (ANSI, CSA). Jej minimalna wytrzymałość to 17.2 kN.
Pasek nie ślizga się w klamrze samoistnie. Jej konstrukcja zapewnia długotrwałe działanie
i skuteczność (poluzowanie i ściągnięcie paska jest bardzo łatwe nawet, gdy pasek jest zabrudzony i zesztywniały). Odporność na korozję testowana przez spryskiwanie w komorze solnej przez 48 godzin.
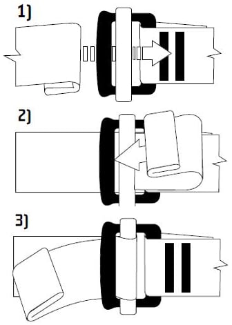
KLAMRA ROCK&LOCK
Opatentowana inteligentna klamra. Łatwa w operowaniu: wystarczy lekko nacisnąć, aby dokonać regulacji. Świetne rozwiązanie: Rock&Lock pozwala na bardzo sprawne zakładanie uprzęży. Pasek jest zabezpieczony przed wysunięciem się z klamry Rock&Lock przez zastosowanie dodatkowego przeszycia taśmy na jej końcu, niespodziewane otwarcie klamry jest praktycznie niemożliwe. Doskonała w każdych warunkach: sprawne działa nawet w sytuacji, gdy paski są mokre lub zmarznięte.
KLAMRA SPEED
Klamra SINGING ROCK SPEED do szybkiego łączenia i rozłączania.Łatwa w obsłudze.
Wytrzymała i prosta w regulacji. Wykonana ze stali. Spełnia wymagania amerykańskiej normy ANSI. Niemożliwa do otwarcia pod obciążeniem. Jeżeli taśma jest skręcona, nie ma możliwości jej zapięcia. Dopuszczalna użytkowa szerokość taśmy do 45mm. Pokryta czarnym lakierem.
Wytrzymałość 18 kN.
